

General Motors has filed a patent application for battery cells with unusual shapes designed to aid cooling.
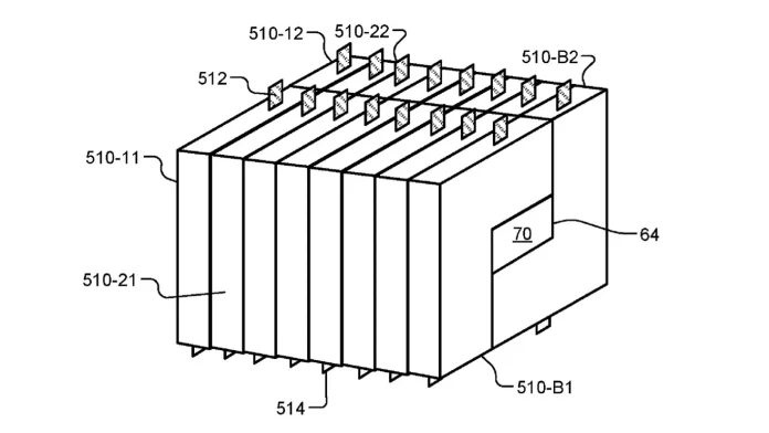
Instead of the rectangular shape of the automaker’s current Ultium cells, the patent application, first spotted by Motor1, discusses Lego-shapes that leave channels when the cells are assembled into modules. These channels could be used for cooling, helping to extend battery life, GM claims in the application.
The idea seems to be that cool air will flow directly onto a larger surface area compared to current GM Ultium modules, in which a cooling plate is placed underneath a solid mass of cells. A similar effect could be achieved with conventional-looking cells of varying length and thickness, GM says in the application, by arranging them to form an H-shape that incorporates cooling channels.
The downside would be the added complexity of manufacturing nonuniform cells, something GM might not want to take on considering the production headaches the company has experienced with its current Ultium cells. Production of Ultium EVs went at a trickle in 2023, causing GM to delay plans for additional electric truck capacity. Software issues also kept deliveries of the Chevrolet Blazer EV on hold for months.
Some of the production issues were due to GM ignoring its own best practices, including installing automated assembly line equipment in its “Factory Zero” in Detroit without proper testing, according to a recent Bloomberg report. Executives told Bloomberg that they believe the worst of these issues are past, and are forecasting EV production of 200,000 to 300,000 vehicles this year, compared to 14,000 in 2023.
GM has several EV models waiting to be launched, including the 2024 Chevy Equinox EV, a replacement for the Chevy Bolt EV, the first Buick EV for North America, and additional electric crossovers for Cadillac. Whether any of these models will eventually use battery cells shaped like assemblies of Lego bricks remains to be seen.











